<<
>>

Выпрямительные диоды малой мощности

К ним относятся диоды, поставляемые промышленностью на прямой ток до 300 мА. Справочным параметром выпрямительных диодов малой мощности является допустимый выпрямленный ток (допустимое среднее значение прямого тока), который определяет в заданном диапазоне температур допустимое среднее за период значение длительно протекающих через диод импульсов прямого тока синусоидальной формы при паузах в 180° (полупериод) и частоте 50 Гц.

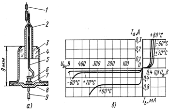
Максимальное обратное напряжение этих диодов лежит в диапазоне от десятков вольт до 1200 В. На более высокие напряжения промышленностью выпускаются выпрямительные столбы, использующие последовательное соединение диодов. Обратные токи не превышают 300 мкА для германиевых диодов и 10 мкА для кремниевых. С точки зрения частотных свойств диоды рассматриваемого типа подразделяют на низкочастотные (до 400 Гц) и высокочастотные (10—20 кГц). Конструкция выпрямительных диодов малой мощности приведена на рис. 3.3, а на примере сплавного германиевого диода Д7Ж (Iа.ср.доп = 300 мА, Ub доп = 700 В), а его вольт-амперная характеристика— на рис. 3.3, б.

Рис. 3.3. Конструкция маломощных германиевых выпрямительных диодов Д7А — Д7Ж (а): 1 — внешний вывод (анод); 2 — трубка (штенгель); 3 — стеклянный изолятор; 4 — корпус; 5 — внутренний вывод анода; 6 — таблетка индия; 7 —кристалл германия; 8 — кристаллодержатель; 9 — внешний вывод (катод). Вольт-амперная характеристика диода Д7Ж (б)

<< | >>
Источник: Руденкова В.И.. ЭЛЕКТРОННЫЕ ПРИБОРЫ. Лекция. 2006

Еще по теме Выпрямительные диоды малой мощности:

  1. Выпрямительные диоды средней мощности
  2. Лекция 7. Выпрямительные диоды
  3. ТЮРКСКИЕ ПЛЕМЕНА И ЭТНОПОЛИТИЧЕСКАЯ ИСТОРИЯ МАЛОЙ АЗИИ ТЮРКИ B МАЛОЙ АЗИИ И ОБРАЗОВАНИЕ РУМСКОГО СУЛТАНАТА
  4. Регулирующие диоды
  5. Детекторные диоды
  6. Мощные (силовые) диоды
  7. Смесительные диоды
  8. Параметрические и умножительные диоды
  9. Лекция 9. Импульсные диоды. Варикапы
  10. Лекция 10. Сверхвысокочастотные диоды
  11. Мощность
  12. Лекция 8. Полупроводниковые стабилитроны. Универсальные диоды