Иллюстрации (продолжение)
2. Могильник Городищенское IX
3- Могильник Кулевчи VI
4- Могильник Троицк-7
5- Могильник Степное II
6- Могильник Приплодный Лог
7- Николаевские II курганы
8- Могильник Кривое Озеро
9- 12 - Могильник Система -1,2, 4, 6 13-14 - Могильник Песчанка-2, 3 15-16 - Могильник Ак-Мулла I, II
17 - Могильник Мало-Кизильский I, II
18 - Могильник Агаповка II
19 - Могильник Альмухаметовский I
20 - Могильник Кизильский
21 - Могильник Сибайский II
22-25- Могильник Тавлыкаевский I, II, III 26 - Могильник Мирный II 27- Могильник Берсуат XVII 28 - Могильник Большекараганский
Рис.
63. Погребальные памятники разных культурных компонентов на раннем этапе позднего бронзового века в степной зоне Южного Зауралья.
Рис. 64. Гистограмма «Количество погребений разных культурных компонентов на раннем этапе позднего бронзового века».

Рис. 65. Материалы петровской культуры в степной зоне Южного Зауралья.
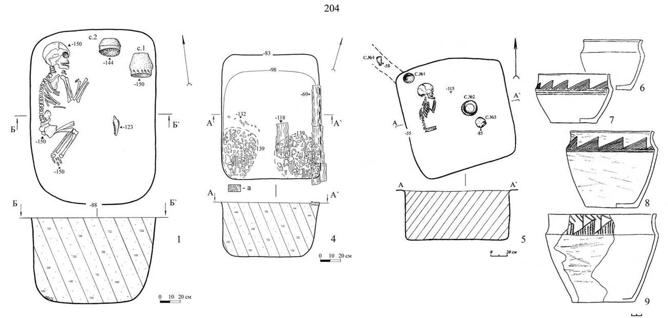
1-5, 15-17- Мог. КривоеОзеро, курган 1, курган 2.
1- курган 2, план, профиль; 2-5 яма 1; 2- яма 1, план, З-псалии, 4-сосуд, 5-бронзовое копье; 15-17 - яма 7,
15- яма 7, план, профиль, 16-17- сосуды;
6-14- курган 1, яма 1,6- зубы живот., 7- наконечник стрелы, 8- кремень, 9-10- псалии, 11- бронзовый нож, 12-14 - керамические сосуды из ямы 1;
18-22- Мог. Большекараганский, курган 22, погребение. 21- керамические сосуды , 22- каменный пест.
Рис.
66. Раннеалакульский, лесостепной культурный компонент.1-7 - Мог. Кулевчи VI, курган 4. 1- план кургана 4, 2-3- сосуд из ямы 5, 4- сосуд из ямы 15,
5- сосуд из ямы 4, 6- яма 24, план, профиль, 7- яма 1, план, профиль;
8-11 - Мог. Приплодный Лог, курган 4. 8- план кургана 4, 9, 11- яма 6, 10- яма 5 (9-11- сосуды).
Рис. 67. Раннеалакульский, лесостепной культурный компонент. Погребальный инвентарь.
1- 18, 22-29- Могильник Кулевчи VI, курган 4, 1-3, 12-18, 22-25- яма 5, 4-11- яма 1; 19-21- Могильник Николаевка II, курган 1,яма 1; 1,8-10-зубы животных; 2- бронзовые нашивные бляшки; 3- пастовые бусины; 4- 6, 11- бронзовые бляшки; 7- бронзовый перстень,
12-13 - бронзовые ножи-кинжалы; 14-15- каменная булава с костяной рукоятью; 16-18 - кремневые наконечники стрел; 19-21- костяные наконечники стрел; 22-23- бронзовые подвески, 24-25- бронзовые подвески в 1,5 оборота; 26-29- бронзовые подвески для накосника.

Рис. 68. Ранний западноалакульский культурный компонент. Организация подкурганного пространства.
1-2 - Могильник Песчанка-2, курган 3. План, профиль.
1, Ia- северный профиль, 2, 2a- восточный профиль.
а-грунт выкида , б- грунт насыпи, в-утрамбованный суглинок надмогильной конструкции, г-суглинок с прокаленной глиной , д-погребенная почва;
3- Могильник Песчанка-3, курган 8. План, профиль.
а-грунт насыпи, б- выкид, в-грунт грабительского вкопа, г- гумусир. супесь.
Рис 69. Ранний западноалакульский культурный компонент.
Погребальные камеры на уровне дневной поверхности.
1- 4- Могильник Песчанка -2, курган 3, погребение 4; 1- погребение 4, план, профиль,
2- бронзовый нож, 3-4 -сосуды; а- слабогумус.суглинок, б- прокал, в-уголь, г- погребенная почва;
5- 7- Могильник Песчанка -3, курган 8, погребение 3; 5-погребение 3, план, профиль,
6- каменный пест, 7- керамический сосуд; а- граница грабительского вкопа.
Рис.
70. Ранний западноалакульский культурный компонент. Погребальный обряд (1, 5- ингумация, 4- кремация).1-3 - Могильник Песчанка-3, курган 8, яма 7 (возраст погребенного 9-11 лет),
1- яма 3, план, профиль, 2-3- керамические сосуды из ямы 7;
4- Могильник Песчанка-3, курган 8, яма 6 (остатки кремации взрослого индивида);
5- 9- Могильник Ак-Мулла I, курган 4, яма 10 (погребение ребенка),
1- яма 10, план, профиль, 6-9 - керамические сосуды из ямы 10;

Рис. 71. Прото - раннесрубный культурный компонент. Погребальный обряд.
1-11- Могильник Большекараганский, курган 11. 1- курган 11, план, профиль, 2-8 -яма 1,2- план, профиль ямы, 3- пест (камень), 4-5 ножи (бронза), 6-8- сосуды; 9-11- яма 5, 9-план профиль ямы, 10-нож (бронза), 11- сосуд;
12-29- Могильник Большекараганский, курган 20. 12- курган 20, план, профиль, 13-21- яма 7, 13- яма 7, план, профиль, 14-кремень, 15-диск (кость), 16- втулка (кость), 17-18- ножи (бронза), 19-21- сосуды; 22-29- яма 6, 22- яма 6, план, профиль, 23- втулка (кость), 24- булава (камень), 25-29-сосуды;
Рис. 72. Раннесрубный культурный компонент. Погребальный обряд.
I- 10 - Могильник Система-1, курган 7; 1- курган 7, план, профиль, 2- план центральной части кургана 7 (яма 1 и жертвенник), 3- яма 1, план, профиль, 4- отщеп (камень) из ямы 1, 5- наконечник стрелы (камень) из ямы 1, 6- бронзовые обоймы из ямы 1, 7, 10 - сосуды из ямы 3, 8- сосуд из жертвенника, 9- сосуд из ямы 2;
II- 13 - Могильник Песчанка-2, курган 3, яма 5; 11- яма 5, план, профиль, 12- сосуд из ямы 5, 13- бронзовая обойма из ямы 5; 14-16 - Могильник Песчанка-3, курган 8, яма 5; 14- яма 5, план, профиль, 15-16- сосуды из ямы 5;
I- Чсрнорсчснская курганная група
39- Мог. Крутая гора
40-Мог. Сибайский II
41-Мог.
Казанкинский42-Мог. Булатовский
43- 45- Мог. Тавлыкаевский- I, II, III
46-48 Мог. Бсксшсвский- III,IV, V
49-Мог. Кара-Тал I
50- 51- Мог. Комсомольский
18-19- Мог. Ак-Мулла-І, II 20- II Михайловские
3- Мог. Кулсвчи VI
4- Мог. Троицк-7
6- Мог. Приплодный Лог
8- Мог. Владимировка
9- Мог. Исинсй
10- Мог. Чскотай
II- Погребения
у башни Тамерлана
12- 15- Мог. Система-1,2,4,6 HI5 V
16-17- Мог. Песчанка-2,3 52- Сосновские курганы
53- Курганы у п. Мирный II
54-Мог. Бсрсуат-ХѴІІ
55- Мог. Бсрсзовский-Ѵ
56-Мог. Солончанка VII
57- 59- Мог. Ивановский 1,2,3
60-Мог. Мамбетовский-1
61- Мог. Мамбстовский-2
62- Мог. Макан-И
курганы
21- Мог. Селивановский II
22- Мог. Наровчатский I
23- 25- Мог. Спасское-1,2,3
26- Мог. Первомайский
27- 28- Мог. Мало- Кизильский I, II
Mor- Могильник
29- Мог. Агаповка-ІІ
30- Мог. Туишсвский I 31 - Мог. Ишкуловский
32- Мог. I Альмухаметовский
33- Мог. Муракаевский
34- Мог. Кизильский
35- Мог. Дальний Лог
36- Мог. Ильясский I
37- Мог. Калмыцкая молельня
38- Мог. Александровский
I- северо-восточная территория
II- центральная территория
III- юго-западная территория
Рис. 73. Погребальные памятники разных культурных компонентов на развитом (классическом) этапе позднего бронзового века в степной зоне Южного Зауралья.

Количество погребений разных культурных компонентов на развитом (классическом) этапе ПБВ
(В % от общего количества погребений- 490 погребений)
Рис. 74. Гистограмма «Количество погребений разных культурных компонентов на развитом (классическом) этапе позднего бронзового века».
Рис.
75. Алакульский, лесостепной культурный компонент. Погребальный обряд. 1-9 - Могильник Кулевчи VI.1- курган 2, план, профиль; 2- курган 5, план, профиль;
3- курган 1, яма 1, план, профиль; 4- курган 1, яма 2, план, профиль; 5-8- сосуды, курган 5, яма 3; 9- сосуд из гнасыпи кургана 5.

Рис. 76. Алакульский, лесостепной культурный компонент развитого (классического) этапа позднего бронзового века. Погребальный инвентарь.
1, 4, 7-10 - Могильник Владимировка; 2-3, 5-6, 11-15- Могильник Кулевчи VI. 1-7, 10-15- бронза, 8-9- раковина; 1-6 - браслеты, 7- бусы, 8-9- подвески из раковин,
10, 14-15- крестовидные подвески, 12- бляшка, 13- накосник (бусы, подвески).
Рис. 77. Кожумбердынский культурный компонент в памятниках степной зоны Южного Зауралья.
I- 14- Могильник Березовский V. 1, 2- курган 8, план, профиль; 3-4- курган 8, погребение 3, план погребения на верхнем уровне и на дне ямы, профиль ямы; 5- сосуд из погребения 3; 6-9 - сосуды из кургана 6; 10- бронзовое украшение (свастика) из кургана 6;
II- 14- сосуды из кургана 7; 13-14- сосуды из кургана 8, погребения 1;
Рис. 78. Западноалакульский культурный компонент развитого (классического) этапа позднего бронзового века в степной зоне Южного Зауралья.
1, 3-7- Могильник Песчанка-3, курган 5. 1- курган 5, план, профиль; 3-4 - яма 2, план, профиль; 5-6 - сосуды из ямы 2; 7- пастовые бусы из ямы 2; 2- Могильник Берсуат XVII, курган 1.
8-10 - Могильник Ильясский I, курган 10, яма 1; 8- яма 1, план, профиль; 9-10 - сосуды из ямы 1;
11- 16- Могильник Ак-Мулла II, одиночный курган, яма 3; 11- яма 3, план, профиль;
12- 16 - сосуды из ямы 3.
I- курган 5, план, профиль; 2-7 погребение 2; 2- план, профиль погребения 2; 3 -пастовые бусы;
4- набор бронзовых украшений; 5- бронзовые браслеты, игла; 6-7 сосуды; 8-9- погребение I (9-сосуды); IO- погребение 3; 11-18 - курган 3; 11- курган 3, план, профиль; 12- погребение 1, план, профиль; 13-погребение 2, план; 14, 15-сосуды из погребения 2; 16-сосуд из погребения 1; 17-погребение 3;
18- сосуд из погребения 3; 19- курган 1, план, профиль; 20- яма 4, план, профиль; 21-22 сосуды из ямы 4;
Рис. 80. Алакульско-федоровский культурный компонент в памятниках степной зоны Южного Зауралья. 1- 11- Могильник Солнце-Талика.
1- курган 1, план, профиль; 2- курган 1, яма 1, план, профиль; 3-4- сосуды из ямы 1, кургана 1; 5-11- курган 2; 5- курган 2, план, профиль; 6- курган 2, яма 1, план, профиль; 7- яма 1 на дне; 8-9- сосуды из ямы 1, кургана 2.
Рис. 81. Локализация памятников разных культурных компонентов
раннего этапа позднего бронзового века на физической карте Южного Зауралья.
1- Могильник Степное II
2- Чернореченская курганная группа
3- Могильник Приплодный Лог
4- Могильник Кривое Озеро
5- Могильник Троицк-7
6- Могильник Кулевчи VI
7- Николаевские II курганы
8- Могильник Городищенское- IX
9- Могильник Мало-Кизильский I, II
10- Могильник Альмухаметовский I
11- Могильник Агаповка II
12- Могильник Тавлыкаевский I, II, III
13- Могильник Сибайский II
14- Могильник Кизильский
15- Могильник Большекараганский
16- Могильник Мирный II
17- Могильник Синташта (CM)
18- Могильник Берсуат XVII
19- 20- Могильник Песчанка-2,3
21- Могильник Система-1,6
22- Могильник Ак-Мулла I

£R£ НБУРДСКЛ^
t****i_
Локомо)
Жеі«мр·
Рис. 82. Локализация памятников разных культурных компонентов развитого (классического) этапа позднего бронзового века на физической карте Южного Зауралья.
1- Мог. Стспнос III
2- Мог. Стспнос II
3- Чсрнорсчснская курганная группа
4- Мог.Приплодный Лог
6- Мог. Троицк-7
7- Погр. у б.Тамсрлана
8- Мог. Кулсвчи VI
9- Мог. Исинсй, Чскотай
10- Мог.
Городищенскос IX
11- Мог. Владимировка
12- Николаевские II кург.
13- Мог. Муракасвский
14- Мог. Туишсвский I
15- 16- Мог. Мало- Кичильский I, II
17-18- Мог.Спасскос-1,2,3
19- Мог. Ссливановский II
20- II Михайловскис курганы
21- Мог. Наровчатский II
22- Мог. Агаповка II
23- Мог. Первомайский
24- Мог. Гумбсйский
25- Мог. Алсксандро- Нсвский I
26-27- Мог. Пссчанка 2,3
28- Мог. Система 1,2,4,6
29-30- Мог. Ак-Мулла I, II
Условные обочначения:
31 - Мог. Ишкуловский
32- Мог. Тавлыкаевский I, II
33- Мог. Булатовский
34- Сосновские курганы
35- Мог. Кичильский
36- 37- Мог.
Тавлыкаевский I, II, III
38- Мог. Бекешевский
39- Мог. Кара-Тал I
40- Мог. Качанкинский
41- Мог. Сибайский II
42-44- Мог.
Комсомольский III, V
45- Мог. Александровский
46- Мог. Калмыцкая молельня
47- Мог. Ильясский I
48- Мог. Крутая гора
49- 50- Мог. Мирный II 51 - Мог. Берсуат XVII 52- 53- Мог. Ивановские 54-55- Мог. Мамбетовские
56- Мог. Макан II
57- Мог. Беречовский V
58- Мог. Солончанка VII
Еще по теме Иллюстрации (продолжение):
- Иллюстрации (продолжение)
- Иллюстрации (продолжение)
- Иллюстрации (продолжение)
- Иллюстрации (продолжение)
- Иллюстрации (продолжение)
- Иллюстрации (продолжение)
- Иллюстрации (продолжение)
- Иллюстрации (продолжение)
- Иллюстрации (продолжение)
- Глава четвертая. Последующие издания Свода законов гражданских в 1842 и 1857 гг.; продолжения к Своду законов и вопрос о продолжениях к своду вообще
- 1.5.2 Оформление иллюстраций
- Подбор иллюстраци
- 3. Иллюстрации также должны быть разнообразными.
- Иллюстрации