Определение граничного размера частиц, разделяемых с помощью радиальных прямолинейных лопастей
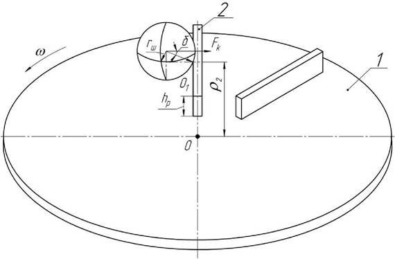
Рассмотрим условие преодоления сферической частицей материала радиально расположенной лопасти 2 прямоугольной формы поперечного сечения высотой “hp”,расположенной на поверхности горизонтального ротора 1.
Роль рассматриваемого барьера выполняет поверхность радиально расположенной лопасти.Исходя из поставленной задачи, радиально расположенные прямолинейные лопасти выполняют функцию отделения мелкой фракции частиц от крупной перед соударением частиц в лобовых и пересекающихся потоках в тангенциальном патрубке. Поэтому задача рассмотрения условия преодоления частицей материала радиально расположенной лопасти является актуальной.
Рисунок 2.7. Расчетная схема для описания движения частицы материала сферической формы по поверхности горизонтального ротора, оснащенного радиальными прямолинейными лопастями:
1- ротор; 2- прямолинейная лопасть; r- радиус частицы, м; hp- высота прямолинейной лопасти, м;
Р2 - расстояние от оси вращения ротора до места встречи с радиально расположенной прямолинейной лопастью, м
Согласно расчетной схемы, представленной на рисунке 2.7, частица материала сферической формы, имеющая радиус «», преодолеет лопасть 2
прямоугольной формы при выполнении следующего неравенства:
где M- абсолютная величина момента силы Fk, равная, н м:
здесь Fk- модуль силы Кориолиса, н [75]
где m- масса частицы материала, кг;
υ- величина линейной скорости частицы материала в точке встречи с боковой поверхностью радиально расположенной лопасти, закрепленной на горизонтальном роторе, м/с:
где Р2 - расстояние от оси вращения ротора до места встречи частицы материала с радиально расположенной лопастью, м;
U- потенциальная энергия, которая равна, Дж:
где g- ускорение свободного падения, м/с2.
Подстановка (2.69) и (2.72) в соотношение (2.68) с учетом (2.70) и (2.71) приводит к следующему выражению:
На основании расчетной схемы, представленной на рисунке 2.7, находим, что
С учетом (2.74) выражение (2.73) принимает вид:
которое можно представить в следующем виде: 
здесь введено следующее обозначение:
Таким образом, полученные соотношения (2.76) и (2.77) определяют условия преодоления частицей материала радиально закрепленной прямоугольной лопасти, который выполнен в виде, представленном на рисунке 2.7.
График зависимости критического значения высоты прямолинейной лопасти от частоты nвращения ротора и радиуса сферической частицы представлен на рисунке 2.8. Координата загрузочного патрубка находится на расстоянии p2 = 0,25Rот центра вращения ротора, где R- радиус ротора, равный 0,1 метра.
Рисунок 2.8. Зависимость величины критического значения высоты ИКр прямолинейной лопасти
от частоты nвращения ротора и размера Гш частицы материала.
Из графической зависимости видно, что с увеличением частоты nвращения ротора и радиуса частицы rкритическое (максимальное) значение высоты прямолинейной лопасти возрастает по линейному закону.
2.4
Еще по теме Определение граничного размера частиц, разделяемых с помощью радиальных прямолинейных лопастей:
- Определение взаимосвязи между углами схода частиц материала с прямолинейной и криволинейной лопастей
- Определение угла схода крупной частицы с поверхности криволинейной лопасти ротора
- Определение скорости движения частицы материала вдоль поверхности криволинейной лопасти горизонтального ротора
- III. Порядок определения цены договора, размера платы за содержание и ремонт жилого помещения и размера платы за коммунальные услуги,
- Определение цели и задач экспериментальных исследований роторного смесителя с лопастями геликоидного типа
- 6.80. Частицы и их функции в речи. Разряды частиц по значению. Словообразующие и формообразующие частицы
- Определение размера, порядок возмещения ущерба
- 3.7. Определение размера ущерба
- Общие принципы определения размера компенсации морального вреда
- Определение размера ущерба и порядок его возмещения
- 2.2.2 Определение размеров зон потенциального сбыта продукции
- 2.8 Определение мощности, затрачиваемой на движение частиц материала с учетом взаимного влияния встречных потоков
- Определение общего нормативного размера платежеспособности страховщика
- 198. Кроме движения, фигур или расположения и размеров частиц, в телах нет ничего, что могло бы возбудить в нас какое-либо чувство