<<
>>

Рекуперативные горелки

Рекуперативные теплообменники применяются, главным образом, для предварительного нагрева больших количеств воздуха, поступающего в печи. Обычно они представляют собой металлоемкую конструкцию, расположенную после основной камеры сгорания, и н большинстве случаев установка их экономически выгодна только для печей большой производительности.

Рекуперативная горелка с автономным рекуператором дает потребителям печей любого размера возможность экономить значительные количества топлива.

Газовые рекуперативные горелки явились предметом широкой исследовательской программы, принятой фирмой British Gas Corporation [6.101. Былодоказано, чтовтовремя как нагрев воздуха спомощью рекуператоров или регенераторов в больших печах непрерывного действия абсолютно необходим, установка их на небольших печах, в частности печах периодического действия, экономически неэффективна. Фирма British Gas Corporation также утверждала, что эти печи являются наименее экономичными. В печи со средней периодической загрузкой и с термическим КПД около 10% потери теплоты с уходящими газами составляют примерно 70% первичной энергии. Для устранения этого фирма сконцентрировала свои усилия на разработке рекуперативной горелки, выполняющей функции горелки, топки и рекуператора в одной компактной системе. Было также предусмотрено, что установка горелки нового типа должна быть такой же простой, как установка стандартной нерекуперативной горелки.

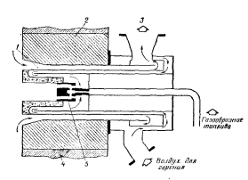
Рекуперативная горелка, разработанная в результате этого исследования, представлена на рис. 6.18. Она состоит из высокоскоростной горелки со смешивающим соплом, находящейся внутри теплообменника с противотоком для нагрева воздуха. Рекуператор выполнен из термостойкой стали [6.1].

Тепловая мощность этой серии горелок составляет 100—900 кВт, скорость газов на выходе — более 50 м/с. Полное сгорание топлива происходит прежде чем газы поступают в печь.

Для этого типа горелок разработана система контрольно-измерительных приборов, идентичная системе, предназначенной для обычных горелок, с добавлением регулирующего устройства компенсации повышения противодавления, создаваемого в результате более высоких температур воздуха.

В целом ряде случаев применение этой горелки позволило получить значительную экономию топлива [в кузнечных горнах, нагревательных печах периодического действия, нагревательных колодцах и печах для термообработки (гл. 4)]. Достигнутые показатели работы могут быть проиллюстрированы данными, полученными для тигельной печи плавки алюминия. Обычно металл в этих печах поддерживают при температуре отливки, которая составляет около 720 °С,

119

Рис. 6.18. Рекуперативная горелка, разработанная фирмой British Gas Corporation:

Рекуперативная горелка, разработанная фирмой British Gas Corporation

/ — ВХОД Продуктов горения из печи; 2 — литой огнеупорный блок; 3 — выход продуктов горения из вези; 4 — стенка печи; 5 — сопло горелки

до разливки в пресс-формы, и в связи с этим часто требуется быстрый нагрев. Было проведено несколько экспериментов, включающих: определение времени и количества теплоты, необходимой для нагрева 180 кг алюминия из холодного состояния до 720 °С;

Таблица 6.2. Сравнение рекуперативной и нерекуперативной горелок для тигельной печи плавки алюмииния [в.101

Сплав LM13

Характеристики Рекуперативная горелка фнрмы MRS Печь д.

ГОрСД K;i CQ

смешивающим Соплом

Сплав LM.14, печь Б [Орелка с насадкой
Производительность, кг Температура, °С 180

720

і во 720 140

7

Испытания в период расплава холодной загрузки

145

248

16^66

Время плавки, мнн Тепловая мощность, кВт Удельный расход теплоты, МДж/кг Экономия топлива[†], %

Экономия топлива**, %

173 135
110 175
6,37 8,81
27,8
61,5

16,35 45 69
0,32 1.03 1,83
68
82

Испытания в период выдержки

Тепловая мощность, кВт Удельный расход теплоты (при выдержке 1 ч), МДж/кг Экономия топлива*, %

Экономия топлива**, %

107               .
МДж/кг 3,83
57,5

Испытания с горячим расплавом перед разливкой

85

9,1

Время плавки, мин Удельный расход теплої Экономия топлива**, %

изменение количества теплоты, необходимой для поддержания температуры 720 °С сплава алюминия (180 кг) в тигельной печи;

определение времени и количества теплоты, необходимой для нагрева алюминия до температуры 720 °С при предварительно нагретой тигельной печи.

Результаты, полученные для рекуперативной горелки мощностью 100 кВт, сравнивались с результатами, полученными для стандартной горелки со смешивающим соплом и горелки с насадкой. Они представлены в табл. 6.2. Печь А была того же типа, что и печь, применяемая для испытаний рекуперативной горелки, а печь Б хотя в основном была такой же, имела меньшую производительность.

<< | >>
Источник: Рей Д.. Экономия энергии в промышленности: Справочное пособие для инженерно-технических работников. Пер. с англ. — М.: Энергоатомиздат,1983. 208 с., ил.. 1983

Еще по теме Рекуперативные горелки:

  1. Заполнение пробелов
  2. § 7. Семейная культура русских
  3. Упражнение 9.
  4. ИГРА, ТАНЦЫ, ФОЛЬКЛОР
  5. § 58. Существительные, употребляемые только в форме множественною числа
  6. Определение содержания серы
  7. 125. Существительные, имеющие только формы множественного числа
  8. 125. Существительные, имеющие только формы множественного числа
  9. Способы, действия глаголов, означающих длительность или неоднократную повторяемость
  10. Системы сжигания топлива
  11. Техника микроскопирования мицелиальных грибов
  12. 19.3. Дутьевой режим
  13. Топливные добавки
  14. § 6.6. ТЕПЛОТА ПАРООБРАЗОВАНИЯ
  15. § 5.2. КОЛИЧЕСТВО ТЕПЛОТЫ
  16. §9.1. ТЕПЛОВОЕ РАСШИРЕНИЕ ТЕЛ
  17. Педагогіка. Інтегрований курс теорії та історії: Навчально- методичний посібник: У 2 ч. / За ред. А.М. Бойко. — Ч. 2. — К.: ВІПОЛ; Полтава: АСМІ,2004. — 504 с., 2004
  18. Кармазин Ю.А., Стрельцов Е.Л. и др.. УГОЛОВНЫЙ КОДЕКС УКРАИНЫ. КОММЕНТАРИЙ. Харьков-Одиссей, 2001