<<
>>

Утилизация теплоты в сушилках.

Системы с кипящим слоем

Как указывалось в гл. 4 и 5, сушка продуктов представляет собой процесс, который требует точного контроля условий его протекания с целью достижения минимального расхода энергии.

Для многих типов промышленных сушилок применение систем утилизации теплоты может значительно снизить расходы на топливо.

Отводимый из сушилки воздух имеет высокое содержание воды, и поэтому его нельзя сразу же повторно использовать в сушилке. В связи с этим прежде чем сбросить воздух в атмосферу, теплоту обычно регенерируют с помощью теплообменника.

Не всегда учитывается тот факт, что сам осушенный продукт также содержит значительное количество теплоты. Ниже будет рассмотрена система использования теплоты, содержащейся в продукте для предварительного нагрева воздуха 16.12].

Косвенный теплообмен в сушилках. Большинство теплообменников типа воздух—воздух могут применяться в сушилках с учетом того, что отсасываемый и поступающий потоки воздуха не должны находиться в контакте друг с другом. Это—пластинчатые теплообменники рекуперативного типа, теплообменники с тепловыми трубами, теплообменники с промежуточным теплоносителем и наиболее современные системы с тепловыми насосами.

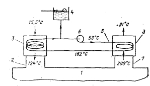
В большинстве сушилок всасывающий и вытяжной каналы находятся на противоположных концах установки, и поэтому змеевик удобен для передачи теплоты от одного конца к другому без затрат на дополнительные трубопроводы. Такой теплообменник, применяемый для сушилки непрерывного действия, показан на рис. 6.19. Змеевики во всасывающем и вытяжном каналах имеют форму теплообменников с увеличенной площадью поверхности. В данном примере [6.13] размеры канала составляют 1,2 X 0,75 м, средняя скорость воздуха 5 м/с, а количество отсасываемого воздуха — около 5 кг/с Благодаря применению этого метода можно получить до 60% экономии первичной энергии, затрачиваемой на процесс сушки.

Рабочим телом в змеевиках в большинстве случаев может быть вода, но если температура газов высокая, то могут применяться высокотемпературные теплоносители.

121

Сушилка с утилизацией теплоты с помощью теплообменников с промежуточным теплоносителем

Рис. 6.19. Сушилка с утилизацией теплоты с помощью теплообменников с промежуточным теплоносителем:

/ — сушилка; 2 — входной ка« нал; 3 — теплообменник; 4—• на* порный бак; 5 — контур с промежуточным теплоносителем; 6 — циркуляционный насос; 7 — вытяжной канал

Кольцевую систему можно также применять для предварительного нагрева воздуха для сушки с использованием сбросной теплоты п других процессов. Таким образом можно утилизировать такое коли- четво теплоты, которое может обеспечить всю потребность сушилки в энергии в зависимости от ее производительности.

Применение пластинчатых теплообменников обычного типа также может дать хорошие результаты. Проблемы сушки, о которых упоминалось в гл. _5, можно упростить благодаря применению теплообменника этого типа. Применение его в барабанной сушилке показано на рис. 6.20. В этом случае поток отработанного газа 6,2 м3 /о состоит из потоков избыточного воздуха (3,4 м3/с, избыток 230%) продуктов горения (1,6 м3/с) и водяных паров (1,2 м3/с). Относительная влажность выбросов около 10%, в них содержится 0,197 кг воды на I кг сухого воздуха. В этом теплообменнике поступающий атмосферный воздух (5,04 м3/с) нагревается до температуры 110° С, а температура отработанного воздуха снижается со 120 до 66° С. Тепловая мощность для предварительного нагрева поступающего воздуха составляет 630 кВт. В рекуперативном теплообменнике 16.14] отработанные газы проходят внутри трубки, а подогреваемый воздух омывает ребристую наружную поверхность. Ребра, расположенные внутри, могли бы улучшитьтепло-

Применение пластинчатого теплообменника в барабанной сушилке для регенерации теалоты

Рис.

6.20. Применение пластинчатого теплообменника в барабанной сушилке для регенерации теалоты:

Г теплообменник с оребренными трубками; 2 — барабанная сушилка* 3 -- горелка 122

передачу, однако очистка такой поверхности трудноосуществима. Количество утилизированной теплоты составляет до 18% общего количества энергии, вводимой в сушилку. Кроме того, конденсируется 10,5% водяных паров. Стоимость необходимого теплообменника была оценена в 13 тыс. ф. ст., а экономия топлива составила около 68 л/ч. Таким образом, период окупаемости был сравнительно коротким.

Полочные сушилки. В сушилках этого типа происходит непосредственная утилизация теплоты отработанных, газов. Сушилка такого типа, в которой можно сушить кристаллы, волокнистую массу, порошки, таблетки и различные гранулированные материалы, показана на рис. 6.21. Она имеет ряд установленных одна за другой кольцеобразных полок, смонтированных на вращающейся стальной раме. Эти полки состоят из пластин в виде сегментов, расположенных таким обра-

 Полочная сушилка, я которой применяется рециркуляция отработан- пых горячих газов

Рис. 6.21. Полочная сушилка, я которой применяется рециркуляция отработан- пых горячих газов:

1 — горелка- 2 —влажный материал; 2 — сухой материал  Сушилка с вращающимися струями, которая использует прямую рециркуляцию воздуха

Рис. 6.22. Сушилка с вращающимися струями, которая использует прямую рециркуляцию воздуха

зом, что между прилегающими полками образуется щель. Турбовентиляторы, установленные на вертикальном валу, обеспечивают равномерное распределение потока воздуха, омывающего материалы, находящиеся на полках. Влажный материал поступает на верхнюю полку из специального фидера, а затем распределяется тонким слоем по вращающимся полкам. После того как каждая полка совершит один оборот, материал снимается с сегментной пластины скребками и попадает через щель на расположенную ниже сегментную пластину, после чего равномерно распределяется по всей поверхности полки.

Этот процесс повторяется с каждым слоем материала на каждой полке сушилки до тех пор, пока материал в сухом виде не попадет в выводной канал. Частота вращения полок определяется периодом сушки материала. Предусмотрен привод с переменной частотой вращения дйя возможности регулирования периода сушки без остановки машины. При переходе материала с одной полки на другую необходимо избегать сильного перемешивания п образования пыли.

Источником теплоты для турбополочной сушилки могут быть воздух, нагретый в паровоздушном теплообменнике, или непосредственно продукты сгорания различных видов топлива.

Воздухоструйные барабанные сушилки. В большинстве типов сушилок воздух обычно вводится в одном месте, а отводится в другом, вступая в контакт с материалом, подвергающимся сушке, только один раз. Воздухоструйная барабанная сушилка с рециркуляцией воз- 124

духа, изготовленная фирмой Cannon Air Engineering и применяемая главным образом для сушки кирпичей и других подсобных материалов, показана на рис. 6.22. Периодический процесс сушки, связанный с характером осушаемого продукта, проводится в камере, также показанной на рисунке.

Например, глину для быстрой сушки необходимо обдуть воздухом для удаления тонкой пленки воздуха с большим содержанием влаги, которая образуется на поверхности глины. Этот слой предотвращает испарение из глины, и его удаление связано с определенными трудностями. Если глину подвергать воздействию непрерывного потока воздуха, с помощью которого можно удалить влагосодержащую пленку, то происходит слишком быстрая сушка поверхности, в то время как внутри остается влага, что приводит к растрескиванию. Проблема решается с помощью вращающегося воздушногоэжектора, который на правляет поток воздуха на осушаемое глиняное изделие в течение нескольких секунд. Затем дают возможность влаге выделиться на поверхности до следующей подачи потока воздуха.

Вращающийся воздушный эжектор состоит из установленного наверху сушилки осевого вентилятора большой производительности. В подаваемом объеме воздуха имеется определенное количество горячего сухого воздуха из теплообменника или из системы утилизации сбросной теплоты другого технологического процесса.

В то же самое время вентилятор подает большое количество рециркулируемого воздуха из сушилки. Объем рециркулируемого воздуха в несколько раз больше объема подаваемого горячего воздуха Весь этот воздух после тщательного смешивания направляется вниз в медленно вращающуюся воронку с отверстием, через которое он выходит.

Сушилки с регенерированием теплоты Как было упомянуто ранее в этом параграфе теплота содержится в потоке отработанного воздуха, а также в выходящем из сушилки продукте. С учетом этого и для того, чтобы сделать процессы сушки гранулированных сухих материалов более экономичными, была применена схема, показанная на рис 6.23 Горячий воздух поступает противотоком к продукту, который само теком движется вертикально вниз. Этот аппарат можно разделить на четыре основные секции:

теплообменник, в котором температуру продукта повышают до температуры горячего воздуха;

приемник, в котором материал поддерживается при той же температуре;

регенератор, в котором теплота материала используется для нагрева воздуха;

расходомер для регулирования количества подаваемого материала.

Нагреватель предусмотрен для дополнительной подачи регенери- вованной теплоты.

Кривая на рис. 6.24 представляет собой зависимость между КПД регенерации и содержанием влаги в продукте, когда он поступает в теплообменник. Как и ожидалось, КПД регенерации повышался по мере уменьшения содержания влаги, но даже при очень высоком содержании влаги он составил около 30%.

Схема теплообменника для регенерации теплоты сухого продукта

Рис. 6.23. Схема теплообменника для регенерации теплоты сухого продукта:

Влияние содержания влаги иа эффективность регенерации ^ теплоты продукта

I — воронка; 2 — фотоэлектрический регулятор уровня; .3 — теплообменник; 4 — приемник; 5 — нагреватель-. 6 — расширительная камера; 7 — регенератор; 8 — измерительная трубка; 9 — шаровые клапаны; 10 —расходомер для регулирования количества подаваемого материала

Рис.

6.24. Влияние содержания влаги иа эффективность регенерации ^ теплоты продукта

На основании результатов, полученных в ряде опытов с овсом, молотым зерном и черным перцем, исследователи пришли к следующим выводам:

КПД регенерации зависит от относительных скоростей потока воздуха и продукта Процесс идет лучше всего при соотношении теплоемкости потоков воздуха и продукта около единицы;

более высокий КПД регенерации может быть достигнут при снижении рабочей температуры сушки;

в аппарате эффективно осушается сорбционное вещество. Регенератор дает возможность дополнительно сушить все продукты с содержанием влаги более 5% до обработки.

Было отмечено, что для исследованных типов материалов нельзя разделять функции сушки и регенерации и в окончательном проекте необходимо в каждом случае устанавливать оптимальное соотношение между КПД регенерации и КПД сушки. Хотя до сих пор эксперименты были сконцентрированы на пищевых продуктах, нет никаких препятствий для использования этой системы для других целей, в особенности когда продукт обладает высокой удельной теплоемкостью.

Тепловые насосы в процессах сушки. Применение теплового насоса для этих целей показано на рис. 6.25. Влажный воздух, отводимый из сушилки, проходит через испаритель теплового насоса, где он охлаждается, отдавая теплоту рабочему телу теплового насоса. В результате охлаждения содержащаяся в воздухе влага конденсируется и удаля- 126 ется. Теплота, приобретенная в испарителе, и теплота сжатия в компрессоре теплового насоса используются для нагрева сухого воздуха, который вновь поступает ц сушильную камеру.

Тепловой насос это одна из систем, которую исследовательский центр по электроэнергии в г. Кэйпенхерст (Великобритания) (гл. 7) рекламирует как наиболее эффективный путь использования электроэнергии и которая до сих пор была сравнительно редким потребителем первичных источников энергии. С помощью теплового насоса можно получить в 3 раза больше тёплоты в конденсаторе, чем подводимая энергия для компрессора, т. е. коэффициент преобразования равен 3.

Применение теплового насоса в процессе сушки

Рис. 6.25. Применение теплового насоса в процессе сушки:

/—сушильная камера; 2 — компрессор; 3 — конденсатор; 4 — дроссель; 5 — испаритель

Таким образом, тепловой насос с компрессором, приводимым в дей ствие с помощью электродвигателя, будет иметь с точки зрения утили зации первичных источников энергии КПД около 100% (с учетом КПД электростанции 33%).

В настоящее время исследования направлены на разработку сушилок с температурой в камере до 85 °С, но в будущем эта температура будет повышена более чем до 100 °С [6.15].

Сушилки с кипящим слоем. Многие небольшие фирмы или фирмы средних размеров, которым необходимы сушилки, не заинтересованы в непрерывном производстве, поскольку этоневсегда соответствует характеру технологического процесса или не оправдано с экономической точки зрения. В этих случаях потребителю нужна такая сушилка, в которой можно эффективно сушить продукты порциями, и поэтому требованию вполне удовлетворяет сушилка с кипящим слоем [6.16].

Процесс сушки может быть значительно ускорен, если подвергаемый сушке материал имеет большую площадь поверхности по сравнению с его массой. Так, если материал может быть измельчен на отдельные частицы, то это облегчает процесс сушки. Это— основной принцип сушки распылением (применяемой на больших заводах) и сушки в кипящем слое. В процессе сушки в кипящем слое основная задача— суспендировать влажные частицы в вертикальном потоке воздуха, под-

Рис. 6.26. Сушилка с кипящим слоем:

Сушилка с кипящим слоем

I — фильтр на входе: 3 — фильтр на выходе: І ¦ греватель; 4 — вентилятор

вергая таким образом максимальную площадь поверхности частиц принудительной конвекции воздухом.

Показанная на рис. 6.26 сушилкас кипящим слоем может быть применена для периодических процессов, когда в одной сушилке с производительностью около 1 т/ч можно обрабатывать различные продукты.

В этом типе сушилок, который находит широкое применение в фармацевтической, пищевой и химической промышленности, можно использовать для нагрева воздуха пар или продукты сгорания топлива. Стандартная рабочая температура для некоторых типов сушилок равна 120° С, а для зашиты окружающей среды от загрязнения предусмотрены системы вторичной фильтрации адсорбции углем.

Указанный тип сушилки представляет сообый интерес с точки зрения утилизации теплоты. Как видно из рис. 6.26, всасывающий и вытяжной каналы примыкают друг к другу. Оптимальным типом теплообменника для утилизации сбросной теплоты в такой сушилке, предотвращающим попадание конденсата, образовавшегося в результате охлаждения отработанного воздуха, обратно в продукт, подвергаемый сушке, является теплообменник с тепловыми трубами. Если применить

Применение теплообменника с тепловыми трубами над сушилкой с кипящим слоем

Рис. 6.27. Применение теплообменника с тепловыми трубами над сушилкой с кипящим слоем:

1 — теплообменник с тепловыми трубами; 2 — фильтр; 3 — нагреватель; 4 — вентилятор

схему, показанную на рис. 6.27, то расход энергии, который на больших установках составляет 7,5 • 10-2 кг/с пара, снизится более чем вдвое.

Для нагрева воздуха в сушилке может быть использована теплота уходящих газов котлов. В этом случае оптимальным может оказаться применение теплообменника с кольцевым змеевиком.

<< | >>
Источник: Рей Д.. Экономия энергии в промышленности: Справочное пособие для инженерно-технических работников. Пер. с англ. — М.: Энергоатомиздат,1983. 208 с., ил.. 1983

Еще по теме Утилизация теплоты в сушилках.:

  1. 1.3. Анализ известных методик расчета тепловых схем модульных котельных и систем расчетов утилизации теплоты
  2. Расчет теплоты адсорбции
  3. Среды, аккумулирующие теплоту
  4. Теплота взрыва
  5. 17.1. Определение высшей теплоты сгорания топлива
  6. 17.2. Расчёт низшей теплоты сгорания топлива
  7. 17.3. Элементный состав и теплота сгорания ТГИ
  8. Расчет теплоты адсорбции
  9. Что вы знаете о теплоте?
  10. Теплота
  11. Теплота сгорания – важнейший показатель качества ТГИ как энергетического топлива.
  12. Расчет размерных зависимостей теплот плавления и кристаллизации наночастиц металлов
  13. § 1.2. Особенности и проблемы регулирования разработки, производства, программирования, оборота, применения (задействования), функционирования, прекращения жизнедеятельности (разрушения) и утилизации юнитов искусственного интеллекта
  14. Основные концептуальные подходы к правовому регулированию разработки, производства, программирования, оборота, применения (задействования), функционирования, самообучения и саморазвития, прекращения жизнедеятельности (разрушения) и утилизации юнитов искусственного интеллекта
  15. К теплофизическим свойствам твёрдых горючих ископаемых обычно относят удельную теплоёмкость, коэффициенты теплопроводности и температуропроводности, коэффициент теплового расширения, а также теплоту сгорания.
  16. Глава 4. Термодинамический подход к исследованию размерных зависимостей термодинамических характеристик наночастиц (температура плавления, температура кристаллизации, теплота плавления, удельная свободная поверхностная энергия)
  17. Г л а в,а 7              . ОБОРУДОВАНИЕ ДЛЯ УТИЛИЗАЦИИ СБРОСНОЙ ТЕПЛОТЫ
  18. Котлы-утилизаторы
  19. Глава 6 ОБЩИЕ ВОПРОСЫ УТИЛИЗАЦИИ СБРОСНОЙ ТЕПЛОТЫ