<<
>>

Рекуператоры

Рекуператор представляет собой теплообменник типа газ—газ, обычно применяемый для утилизации теплоты сбросных горячих газов. Самое широкое применение рекуператор получил в качестве подогревателя воздуха, поступающего в котлы и печи.

В этих случаях он является прямым конкурентом вращающихся регенераторов и в меньшей степени — теплообменников с тепловыми трубами.

Преимущества применения рекуператоров:

сокращение потребности в топливе;

уменьшение количества избыточного воздуха;

возможность достижения более высокой температуры факела;

уменьшение химического недожога топлива;

увеличение скорости горения;

уменьшение окисления технологического продукта;

Существуют два основных типа рекуператоров: конвективные и радиационные.

Конвективные рекуператоры. Эти рекуператоры могут применяться в тех случаях, когда температура газа ниже 1000 °С, хотя допустимы и более высокие температуры, если использованы специальные материалы и способы изготовления. Первоначально все рекуператоры изготавливали из керамических материалов, но возникали серьезные проблемы утечек, и в настоящее время они в большинстве случаев заменены металлическими.

Как и во многих других типах теплообменников, в конвективных рекуператорах применяются чугунные и стальные трубы, смонтированные в пучки. Недостатками теплообменников с чугунными трубами являются ограничение давления и недостаточная газоплотность [7.29].

На рис. 7.26 показан 4-ходовой горизонтальный рекуператор, разработанный фирмой Thermal Efficiency Ltd. В этом рекуператоре применяются гладкие и оребренные трубы. Гладкие трубы содержат определенный процент хрома и никеля, расположены перед сборными оребренными трубами для защиты их от локального нагрева. Хром обеспечивает устойчивость к окислению при высокой температуре, а никель улучшает пластичность в зонах с высоким термическим напряжением.

Типичные области применения этих рекуператоров — нагревательные колодцы и нагревательные печи, где дополнительным требованием является стойкость к абразивным газам и газам, содержащим спекшуюся пыль. Хотя в данном случае замена труб не так удобна, как в случае рекуператоров, в которых трубы крепятся болтами, каждая труба может быть изъята из пучка, если сварной шов разрушен.

Рекуператоры со сборными трубами применяются исключительно как теплообменники конвективного типа для утилизации теплоты газов с температурой до 950 °С. Имеется множество типов рекуператоров с тянутыми стальными трубами. В некоторых типах применяют

І

Стационарный рекуператор Econovent EX

Рис. 7.27. Стационарный рекуператор Econovent EX

4-ходовой горизонтальный рекуператор

Рис. 7.26. 4-ходовой горизонтальный рекуператор

U-образные трубы для сведения до минимума напряжения, вызванного тепловым расширением. Эти рекуператоры часто применяются там, где необходимо утилизировать значительную часть теплоты излучения и где трубы обычно меоребренные. Однако количество теплоты, 170 передаваемой от греющего к нагреваемому теплоносителю, увеличивается потому, что, если толщина стенок литых труб составляет около 8 мм, толщина стенок стальных труб может быть всего 3 мм.

До сих пор рассматривались рекуператоры, в которых отработанный газ омывает наружную поверхность труб,-причем за один цикл, а воздух движется внутри. Газотрубные рекуператоры, которые похожи на кожухотрубчатые теплообменники, применяются в случае загрязненных газов, и поскольку трубы легче чистить изнутри, грязный отработанный газ проходит внутри трубы.

Как было упомянуто выше, металлические рекуператоры применяются гораздо шире, чем керамические. Однако в некоторых случаях они применяются при высоком давлении и высокой температуре. В гл.

3 приводится описание этих установок, разработанных фирмой British Steel Corporation. Многие производители могут поставлять керамические трубы для рекуператоров, выдерживающие температуру отработанного газа до 1800 °С. Проблема герметизации рекуператоров этого типа была решена благодаря применению насадки из керамического волокна, основанного на силикате алюминия. Такой рекуператор, например, с трубами марки Carbofrax и Refrax, разработанный фирмой Carborundum Со. и установленный непосредственно на выходе из обжиговой печи, запроектирован на использование теплоты газа при температуре 1800 °С в количестве 0,86 м3/с и на нагрев воздуха до температуры 1200 °С. Тепловая мощность этого рекуператора составляет 104 кВт.

Рис. 7.29. Кожухотрубчатый рекуператор, применяемый для высокотемпературных газовых потоков

Рекуператор фирмы ITT Re7nor. применяемый для отопления

Рис. 7.28. Рекуператор фирмы ITT Re7nor. применяемый для отопления

Для менее жестких условий имеются очень простые рекуператоры. Показанный на рис. 7.27 стационарный рекуператор Econovent EX был разработан фирмой Munters в Швеции для утилизации теплоты влажного или насыщенного отработанного воздуха или газов, которые могут содержать большое количество скрытой теплоты. Эта же

фирма производит также вращающиеся рекуператоры, но в сравнении с ними в рекуператоре Econovent EX устранена проблема переноса загрязнений. Сего помощью можетбыть утилизировано 70—75%яв- ной и скрытой теплоты потока отработанного газа, и эта теплота передается к близлежащим узким каналам, по которым поступает воздух, таким образом, он в некотором отношении похож на пластинчатый теплообменник, применяемый для газов. Рекуператор собирается из отдельных модулей, каждый из которых рассчитан на 0,5—1,5 м8/с газа. Сбор и отвод конденсата также осуществляются внутри рекуператора.

На рис. 7.28 показан сравнительно простой рекуператор, который может быть расположен в вентиляционных воздуховодах и газоходах для нагрева теплоносителя для целей теплоснабжения или использования его в технологическом процессе.

В нем применяется нагреватель, работающий на газе, изготовленный фирмой ITT Reznor; конструкция его такова, что не происходит переноса загрязнения. КПД рекуператора ниже, чем некоторых других типов (обычно 35—55%), но он дешевле и проще в эксплуатации.

Радиационный рекуператор имеет форму двух концентрически расположенных цилиндров, при этом воздух, который должен нагреваться, проходит по наружному кольцевому каналу, а отработанные газы идут по центральному каналу. Он монтируется таким образом, что трубы расположены между двумя коллекторами. На рис. 7.29 приводится радиационный рекуператор этого типа.

Рис. 7.30. ператор Holcroft:

і —¦ горелка

По сравнению с конвективными рекуператор радиационного типа имеет очень низкое сопротивление потоку газа, и в большинстве слу-

Радиационный реку* фирмы Gibbons -» чаев не требуется его очистка. Через него могут ппоходить самые грязные отработанные газы, и он может встраиваться непосредственно в газоход или дымовую трубу.

Размеры этого рекуператора могут быть различными, самый большой рекуператор имеет длину около 50 м и диаметр 3 м. Эти рекуператоры выполняются из труб для разделения отработанного газа и воздуха, а не в виде одного кольца. Такие рекуператоры применяются в тех случаях, когда требуется нагреть воздух до температуры свыше 600 °С. Предпочтительно, чтобы воздух и газ шли параллельными потоками для снижения термического напряжения труб. Рекуператоры такого типа применяются, например, в печах для сварки стекла.

Радиационный рекуператор обычно считается наиболее надежным и имеет самый длительный срок службы.

Так же как при утилизации теплоты отработанных газов из котла и печи, радиационный рекуператор может применяться вместе с радиантными трубами, образуя автономный агрегат, как показано на рис. 7.30. Отделением новых процессов фирмы Chrysler Corporation были установлены новые рекуператоры с радиантными трубами на печах и было достигнуто снижение расхода топлива на 26% [7.30].

При этом производственная мощность возросла на 1/3 и было устранено тепловое загрязнение окружающей среды. Капитальные затраты на рекуператоры составили всего 4% общих капиталовложений в 4-зон- ную печь, а экономия газа по данным фирмы составила 17 м3/ч. Даже при условиях простоя экономия топлива составляет 22%,
  1. Тепловые насосы

Все описанные ранее в этой главе системы используются для утилизации высокотемпературной теплоты, которая может быть повторно использована непосредственно для теплоснабжения, нагрева сжигаемого воздуха или в другом технологическом процессе. Многие источники сбросной теплоты имеют очень высокую температуру, в частности отработанные газы печей, котлов и т. д. В ряде случаев описанные ранее теплообменники могут успешно использоваться и для утилизации низкопотенциальной теплоты, как, например, в системах кондиционирования воздуха и в процессах сушки, в которых разность температур между теплоносителями относительно низкая.

Очень часто температура среды (жидкой или газообразной) слишком низкая, чтобы ее можно было эффективно утилизировать. В большинстве случаев к этой категории относятся жидкие потоки, а не отработанные газы, хотя тепловой насос может применяться в любом случае. Кожухотрубчатые и пластинчатые теплообменники могут работать при низкой разнице температур (например, с помощью пластинчатого теплообменника можно утилизировать теплоту горячего конденсата с температурой 74 :С для нагрева питательной воды котла от комнатной температуры до 65 °С), и эти теплообменники сравнительно дешевы и надежны в работе при соблюдении эксплуатационных требований.

Однако во многих случаях сбросная теплота с температурой 25— 30 °С может быть эффективно утилизирована, если ее улучшить ка- чествсшю (т. e. повысить до более высокой температуры), а затем повторно использовать непосредственно в том же процессе для других установок пли для целей теплоснабжения, где требуется более высокотемпературная теплота.

Идеальный цикл теплового насоса. В энергетическом цикле теплота поступает к рабочему телу, которое затем совершает работу и сбрасывает теплоту при более низкой температуре. В цикле теплового насоса или холодильника все происходит в обратном порядке. Теплота воспринимается при низкой температуре, затем рабочим телом совершается работа, и оно отдает теплот\ при повышенной температуре. Тепловые насосы могут обеспечивать и охлаждение, и нагрев и широко применяются для кондиционирования воздуха, что было подробно описано в предыдущей главе. В этой главе рассмотрена работа теплового насоса только для целей нагрева.

Схема теплового насоса показана на рис. 7.31. В испаритель поступает отработанный поток с низкой температ'рой, и при испарении циркулирующего рабочего тела теплота пост пает в систему теплового насоса. Затем образовавшийся пар проходит через компрессор, в котором давление и температ\ра его повышаются. Затем рабочее тело поступает в конденсатор, где отдает теплоту», по- л ченн ю в испарителе, и теплоту сжатия в компрессоре. При этом пар конден- сир ется, а нагретый конденсат проходит через дроссель, и его температура снижается, Рабочее тело, которое обычно представляет собой фторированные \гле- водороды, остается в герметично замкнутом контуре.

Идеальный цикл теплового насоса можно представить как обратный цикл идеального теплового двигателя (цикла Карно), что показано на рис. 7.32. Работа теплового насоса обычно характеризуется соотношением теплоты, отдаваемой конденсатором, и работы сжатия компрессора. Другими словами, коэффициент преобразования идеального цикла (ф) может быть выражен след, ющим образом:

Ф = Д|/              —              7'г),

где 7'1 —температ» ра конденсации, К; Т2 — температ. ра испарения, К.

Идеальный цикл теплового насоса (цикл Карно)

Рис. 7.32. Идеальный цикл теплового насоса (цикл Карно):

1—2 — изоэитропическое сжатие; 2—3 — изотермическая конденсация; $—4 — взо- энтропическое расширение; 4—/ — изотермическое испарение

Типичный температ рный интервал рабочих температ. р теплового насоса 30—80° С. Тогда идеальный ф составляет 353/ (80—30), или 7,06. Однако на практике тепловой насос имеет гораздо более низкий ф, чем предполагаемый в обратном цикле Карно, и он более точно представлен циклом Ренкина, показанным

Принципиальная схема теплового насоса

Рис. 7.31. Принципиальная схема теплового насоса:

I — испаритель; 2 — компрессор; 4 — конденсатор; 4 — дроссель

на рис. 7.33. В реальных установках при расширении рабочего тела имеют место потери за счет механического трения и используется дроссель, поэтому процесс 3—4 происходит при постоянной энтальпии. Поскольку в процессе расширения никакая работа не производится он не влияет на количество теплоты, пол, чаемой в конденсаторе, но уменьшает количество теплоты, воспринимаемой в испарителе при постоянной температуре. Дроссель делает процесс необратимым.

После расширения рабочее тело находится в состоянии насыщенной жидкости, которая в идеальном случае приобретает теплоту в испарителе и вскипает до состояния насыщенного пара.

Кроме того, реальный цикл отличается от обратного цикла Карно еще и тем, что сжатие обычно происходит в области перегретого пара со снятием перегрева в конденсаторе и имеет место дополнительное охлаждение (переохлаждение) рабочего тела между конденсатором и дросселем. В реальном цикле давление рабочего тела падает по мере прохождения его через теплообменники, и это показано на диаграмме 7.34 [7.31],

Источники теплоты теплового насоса. Тепловой насос может успешно работать, только если имеется соответствующий источник теплоты для испарения циркулирующего в системе рабочего тела. За несколькими исключениями, которые будут рассмотрены ниже, тепловой насос до настоящего времени применялся в тех случаях, когда требуется как нагрев, так и охлаждение, например круглогодичное кондиционирование и отопление с использованием отработанной теплоты холодильных установок,

В США в настоящее время применение тепловых насосов для этих целей является обычной практикой. В табл. 7.5 перечислены некоторые изготовители тепловых насосов и показатели их работы.

Реальный цикл

1—2 — сжатие; 2—3* — снятие перегрева; 3'—3” — конденсация; 3"—3 - охлаждение жидкости; 3—4 — расширение; 4-І* — испарение; V—l -TS перегрев

Рис. 7.34. Реальный цикл:

При кондиционировании воздуха наиболее распространенным источником теплоты является окружающий воздух, который продувается через оребренный испаритель вентилятором. Основным недостатком этого источника теплоты является изменение температуры. В тех случаях, когда требуется наибольшая тепловая мощность, атмосфер-

Цикл Реикина для влажного пара

Рис. 7.33. Цикл Реикина для влажного пара:

2 — нзоэнтропнческое сжатие; 2—3 — изотермическая конденсация при постоянном давлении; 3—4 — адиабатическое расширение; 4—1 — изотермическое испарение при постоянном давлении ный воздух имеет низкую температуру и это часто приводит к необходимости применять дополнительную систему обратного нагрева. Для устранения этого был испытан целый ряд природных источников теплоты, которые не подвержены значительным сезонным или даже суточным колебаниям. В 50-х годах змеевик испарителя чагто зарывали на глубину более 1 м, но большие поверхности нагрева, необходимые для покрытия тепловой нагрузки из-за низких коэффициентов теплопередачи от почвы к рабочему телу, явились одной из причин отказа от этой системы. В настоящее время в США все больший интерес проявляется к использованию солнечной энергии в качестве источника теплоты для тепловых насосов, но так как солнечная энергия имеется в такое время, когда меньше всего требуется отопление, то в этом цикле предусматриваются обычно системы аккумулирования теплоты.

Некоторые тепловые насосы, как видно из табл. 7.5, сконструированы для работы с водой в качестве источника или поглотителя теплоты. Если тепловые насосы применяются для теплоснабжения, то предпочтительна вода, так как она меньше подвержена значительным колебаниям температуры. В Великобритании в некоторых случаях в качестве источника теплоты применялась речная вода [7.33]. В промышленности источником теплоты для теплового насоса обычно также является вода. Она имеет несколько более высокую температуру, чем природные источники, и менее подвержена сезонным изменениям. Кроме того, параметры и режим работы теплового насоса относительно постоянные.

Таблица 7.5. Тепловые насосы, применяемые в США в системах кондиционирования воздуха

Изготовитель Тепловая мощность, Вт Элек гпическая мощность. Вт Ф при нагреве
Lennj.x Industries[‡] 7000/7000 3800/3200 2,18
26 400/27 200 11 400/9700 2,80
American Air Filter** 2780/2780 1100/1150 2,41
14 600/15 000 6800/5500 2,72
Carlyle (Carrier) Air Conditio 5850/6450 3300/2800 2.30
ning* 34 300/34 300 14 700/12 100 2,84
General Elictric* 5300/5300 2800/2500 2,12
35 000/35 000 15 000/12 600 2,78
Fedders Corp* 6450/6450 4000/3800 1,70
16 400/17 500 8800/17 500 2,43
York Division of Borg — War 5600 **/6і50 2000/2000 3,07
ner*** 14 600/15 800 7900/6600 2,40
Westinghouse Electric ( orp*. 5300/5000 2900/2400 2,08
17 300/17 300 8900/6900 2.50
Low Impact Technology —/7000 3,00
—/38 000 3,00
Temperature Ltd 1460/2280 850/900 2,53
3800/5430 1860/1950 2,78

Примечаии я: 1. Цифры приблизительные.

2, В числителе — данные при охлаждении, в знаменателе — при нагревании.

Они будут определяться требованиями технологического процесса — потребителя высокотемпературной теплоты (это не относится к тепловому насосу, применяемому для отопления промышленных зданий). Необходимо подчеркнуть, что в этой главе будут рассмотрены главным образом вопросы использования сбросной теплоты технологических процессов кроме прицесса выработки электроэнергии.

Выбор рабочего тела для теплового насоса. Рабочее тело, применяемое в тепловых насосах, обычно называется хладагентом. Во многих случаях оно идентично тому, которое применяется в обычном холодильнике, а в более высокотемпературных тепловых насосах применяются производные этих жидкостей, обозначаемые буквой R, например R 12, R21 и т. д.

Таблица 7.6. Теоретические характеристики хладагентов

при использовании их в тепловых насосах

Параметры

Хладагент

11 21 ИЗ 114 12 3! / П 4 12/31
Давление испарения, кПа 220 385 103 425 1190 758 1203
Давление конденсации, кПа 1000 1610 560 1700 3950 2920 4140
Критическая температура, °С 198 178 214 146 112 142 118
Отношение давлений 4 ,45 4,2 5,3 3,95 3,35 3,86 3,4
Удельный объем при 50 °С, м3/кг 0,0801 0,0619 0,1298 0,0320 0,0146 0,0324 0,0170
Массовый расход, кг/с 0,098 0,126 0,060 0,245 0,530 0,242 0,450
Чистый холодильный эффект, кДж/кг 114,5 145,5 86,4 48,5 36,6 118,8 65,0
Теплота сжатия, кДж/кг 27,9 35,0 25,6 18,6 18,6 35,0 25,6
Тепловая мощность, кВт 13,9 22,8 6,76 13,0 28,3 37,6 41,7
Ф 5,1 5,2 4,35 3,5 2,9 4,48 3,55

П с и м е ч а н и я:              I              Чистый              холодильный эффект получают путем вычитания энталь

пии хтадагента при температуре конденсации из энтальпии перегретого пара, поступающего в компрессор при температуре испареиия. Теплота сжатия — это разница энтальпии паров на выходе из компрессора и иа входе в него.

2 Температура испареиия 50 °С, температура конденсации П0*С, подача компрессора 28,32 м*/ч.

Давление не является единственным критерием, который используется для выбора рабочего тела для данного конкретного применения. Количество теплоты, которая может передаваться g помощью хладагента, в сильной степени зависит от скрытой теплоты его или энтальпии, значения которой представлены в табл. 7.6. Удельный объем рабочего тела определяет размеры компрессора, необходимого для пропускания заданного расхода хладагента, а температуру определяют предельные условия, выше которых рабочее тело не может быть эффективно использовано. Растворимость хладагента в смазочном масле компрессора является также важным фактором при выборе рабочего тела. 7 Зак ’ 1641              177

Кроме указанных выше свойств необходимо принимать во внимание и стоимость, хотя ассортимент хладагентов достаточно велик и цены на них относительно низкие. Кроме того, хотя вторичный контур теоретически представляет замкнутую систему, следует помнить, что потери хладагента должны быть минимальными и подпитка даже больших систем не должна составлять значительной доли капитальных и текущих расходов.

Важным фактором является условие безопасности. Хладагент должен быть нетоксичным и должен быть совместим с компонентами контура, с которыми он может вступать в контакт. Он должен быть также негорючим. В настоящее время одним из факторов, который ограничивает применение тепловых насосов при температуре выше 110—120° С, является термическая стабильность хладагентов.

Кроме обычных хладагентов, перечисленнных в таблицах, были разработаны и запатентованы их азэнтропные смеси 31/114 и 12/21. Они характеризуются высоким коэффициентом преобразования (на 60% выше, чем у хладагента R21), критическая температура обеих смесей выше 110 °С.

Компрессоры тепловых насосов. Компрессор представляет собой наиболее важный агрегат в тепловом насосе. Наиболее широко применяются следующие типы компрессоров: поршневые, винтовые и центробежные.

В настоящее время поршневой компрессор чаще всего применяется в тепловых насосах. Он может работатьпри высоком давлении и сохранять высокий КПД при переменных режимах работы. Существуют три различных конструкции поршневого компрессора. Герметичные и по- лугерметичные компрессоры приводятся в движение электродвигателем, заключенным в кожухе компрессора. Компрессор этого типа был первоначально разработан для целей охлаждения, он сравнительно дешевый в изготовлении, так как нет необходимости в уплотнениях. Применение герметичных агрегатов несколько ограничено в случае высоких температур, характерных для промышленных процессов. Кроме того, приводным двигателем для них может служить только электродвигатель. Проблема может быть устранена благодаря применению открытого поршневого компрессора, который приводится в действие двигателем любого типа (помимо прямого соединения можно применять ременную передачу).

В тепловом насосе фирмы Westinghouse Templifier, который будет описан ниже, применяется центробежный компрессор, приводимый герметичным электродвигателем. Мощность таких компрессоров — до 300 кВт. Этот компрессор основан на центробежном компрессоре модели СЕ, который представляет собой одноступенчатый агрегат со встроенной гидравлической системой регулирования. В принципе центробежные компрессоры более дорогостоящие, чем поршневые, особенно при малых мощностях. Однако мощность их более высокая, чем большинства поршневых компрессоров промышленных типов, и они обладают более низким уровнем вибрации.

Винтовые компрессоры широко применяются в больших промышленных тепловых-насосах (компрессор MS10 фирмы Grasso Monoscrew о 178

максимальной температурой на выходе 90 °С имеет теплопроизводи- тельность 6,3 ГДж/ч. Одноступенчатый компрессор, работающий в пределе температур от — 10 до 25 °С, имеет теплопроизводнтельность 6 ГДж/ч при мощности привода компрессора 361 кВт).

Промышленное применение тепловых насосов. Имеется целый ряд возможных вариантов применения тепловых насосов для утилизации теплоты в промышленности. Описывается пять различных систем, три из которых используют электродвигатели, одна — двигатель внутреннего сгорания и последняя в настоящий момент использует газовую турбину. Выбор наилучшей системы зависит, главным образом, от областей их применения.

Электрические тепловые насосы подразделяются на системы жидкость — жидкость, воздух — воздух. Они могут использоваться в комбинированных системах охлаждения и нагрева.

Утилизация теплоты жидкостей (тепловой насос с электроприводом). Использование тепловых насосов с электроприводом компрессора для утилизации теплоты сточных вод или других жидкостей можно рассмотреть на примере теплового насоса фирмы WestinghouseTemplifier. Это одноступенчатые или двухступенчатые тепловые насосы, в которых применяются центробежные компрессоры с теплопроизводитель- ностью 5,44 ГДж/ч и тепературой теплоносителя на выходе до 110 °С.

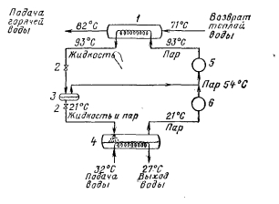
На рис. 7.35 показан тепловой насос Tempiifier, применяемый для случая, когда теплота утилизируется из сточных вод, имеющих температуру 32 °С, а температура нагреваемой воды должна быть 82,2 °С. В этом случае применяется двухступенчатое сжатие и испаритель мгновенного действия, из которого часть паров поступает на вход второй ступени компрессора [7.361, что приводит к повышению КПД процесса. Коэффициент преобразования этого теплового насоса зависит от условий в испарителе и конденсаторе, и в том случае, когда разница температур источника теплоты и поглотителя теплоты большая, обычно рекомендуется система двухступенчатого ежатия. Кривые, представленные на рис. 7.36, показывают изменение ф теплового насоса фирмы Tempi ifier в зависимости от температуры подаваемой низкопотенци-

Рис. 7.35. Тепловой насос фирмы TemplHier для утилизации сбросной теплоты сточных вод (двухступенчатое сжатие, температура источника теплоты 32 °С, температура поступающей горячей воды ¦~82°С):

і — конденсатор; 2 — дроссель; 3 — аппарат мгновенного веки* пання; 4 — испаритель; 5 — вторая ступень компрессора; б — первая ступень компрессора

тепловой насос Tempiifier

альной воды. Эксплуатационные расходы теплового насоса можно сравнить с расходами при использовании прямого электрического нагрева и нагревателя, работающего на жидком топливе при следующих усло

виях:

Средняя стоимость жидкого топлива, пенс/л ....              5,2

Стоимость электроэнергии, пенс/(кВт-ч) .....              1,5

КПД нагревателя, %              7°

Энтальпия жидкого топлива, МДж/л              31,6

Коэффициент преобразования теплового насоса lt;р .              3,7

Общая потребность в теплоте, кВт-ч              500

Тогда расходы при использовании прямого электрического нагрева составят 500-1,5-10-2 = 7,50ф. ст., при применении нагревателя

со ш 2 500 • 0,86 • 4,186 о пс j, на жидком топливе 5,2-Ш-2                =              2,9b              ф.              ст., а о ис-

500-1,5-10~2              ОПо,

пользованием теплового насоса  ?pf— = 2,03 ф. ст.

Таким образом, тепловой насос более экономичен, чем нагреватель на жидком топливе. Сравнение с прямым электрическим нагревом показывает, что расходы снижаются прямо пропорционально ф, но вряд ли в промышленности во многих случаях прямой электронагрев можно заменить тепловым насосом.

Зависимость ф теплового насоса системы ТепірШіег от температуры подаваемой воды

Рис. 7.36. Зависимость ф теплового насоса системы ТепірШіег от температуры подаваемой воды

Показатели работы теплового насоса фирмы TempiШег могут быть дополнительно проиллюстрированы отношением теплопроизводитель- ности теплового насоса к мощности двигателя компрессора. Эти показатели приведены в табл. 7.7 для одноступенчатого агрегата, нагревающего воду с 54 до 65,5°С и использующего воду с температурой 35 °С (в этих случаях вода будет охлаждаться до температуры 29,4 °С). Показаны четыре модели фирмы Tempi ifier с двигателями от 63 до 291 кВт. Мощность, необходимая для преодоления потерь падения давления в испарителе и конденсаторе, в этих расчетах не учтена.

Утилизация теплоты воздуха (тепловой насос с электроприводом). Одной из областей успешного применения теплового насоса является процесс сушки строительного леса [7.38], хотя этот метод также применим и для других процессов сушки [7.31].

КПД сушилки может быть повышен благодаря применению для утилизации теплоты теплообменников с промежуточным теплоносителем и с тепловыми трубами. При их применении осуществляется нагрев поступающего в сушилку воздуха за счет утилизации теплоты отработанных газов, которые затем выбрасываются в атмосферу. Теоретически КПД сушилки, в которой циркулирует воздух, может достигать 100%, но практически это невозможно из-за увеличения влажности циркулирующего воздуха. На практике полной рециркуляции мож

Модель

Расход воды, м3/ч, при температуре на входе

Теплопроиз-

водигедь-

ность,

ГДж/ч

Мощность

привода,

ОрИСЧіТІфО-

почная

35 °С 65,5 °С кВт масса, кг
ТР050 33 21 0,95 63 2300
ТР063 71 44 2.03 132 5300
ТР079 106 66 3.05 189 6700
ТР100 169 105 4,89 291 10 100

Рис. 7.37. Сушилка с              тепловым              Рис. 7.38. Схема              потоков в теплонасос-

насосом:              ной сушилке:

/ — вентилятор;              2              —              осушитель              / — конденсатор; 2              — вентилятор;              3 — дрос-

(тепловой насос)              сель; 4 — испаритель; 5 — компрессор

но достигнуть лишь в том С3 ние влаги из отработанног с применением теплового Hi сосной сушилке схематичесі проходит через испаритель, ниже точки росы, отдавая я лаждения происходит конденсация части воды в воздухе, и эта вода отводится. Количество конденсата определяет КПД сушки. Отводимая из воздуха в испа-

« случае, если в сушилке предусмотрено удаленого воздуха, которое может осуществляться ) насоса (рис. 7.37). Схема потоков в теплона- чески показана на рис. 7.38. Влажный воздух :ль, в котором он охлаждается до температуры ІЯ ЯВНУЮ И СКПЫТУЮ теплоту. В пезультате ох-

ритеЛв явная некрытая тёпло та, а также теплота, эквивалентная’работе сжатия компрессора, отдается в конденсаторе сухому воздуху. Затем этот воздух проходит через осушаемый материал, дополнительно удаляя влагу. В экспериментальных сушилках достигали ф = 3,6 и экономии около 50% топлива.

Эта система применяется также для сушки сжатого воздуха, исследуется возможность применения ее в печах для сушки кирпича.

Комбинированная система охлаждения и нагрева с применением теплового насоса с электроприводом. Имеется возможность использования обоих потоков теплоты одновременно — как отводимого от конденсатора, так и поступающего в испаритель. Это, очевидно, наиболее экономичный путь, и он может часто применяться с получением хорошего эффекта на тех установках, где требуется охлаждение или есть другой потребитель с меньшей потребностью в охлажденной воде.

Типичным примером является установка по формованию пластмассы под давлением, где требуется холодная вода для охлаждения отливок и отверждения пластмассы. Кроме того, на этом же заводе требуется теплота для поддержания комфортных условий. Тепловой насос, который может выполнять обе эти функции, был установлен на заводе в г. Телфорд в Великобритании. Применялся компрессор фирмы Prestcold. Тепловой насос заменял обычную градирню и снижал температуру охлаждающей воды до 7,2 °С в количестве до 1140 л/мин 17.39). Утилизированная из воды теплота использовалась для отопления помещений. Благодаря регулированию условий работы теплового насоса можно поддерживать высокую производительность формовочных машин независимо от окружающих условий, влияющих на работу градирни. Применение этой системы, показанной на рис. 7,39, позволяет получить экономию в 15 тьш. ф. ст/год с периодом окупаемости около трех лет.

Тепловые насосы с поршневыми двигателями внутреннего сгорания. Приведенные выше примеры тепловых насосов с электродвигателями показывают, что эта система может дать максимальную экономию, если она используется для замены прямого электрического нагрева.

В Великобритании разница в ценах на электроэнергию и другие источники энергии, в частности природный газ, препятствует применению тепловых насосов только для нагрева. Во многих случаях применение теплового насоса с электроприводом для утилизации теплоты теплых сточных вод может оказаться более дорогостоящим как по капитальным, так и по эксплуатационным затратам в сравнении о котельной, работающей на природном газе.

Можно выделить три области применения тепловых насосов в промышленности, из которых только одна является очевидным претендентом для применения электрических тепловых насосов:

утилизация теплоты технологических стоков, когда газ или жидкое топливо используется для предварительного нагрева. В этом случае электропривод теплового насоса может оказаться слишком дорогим;

утилизация теплоты хладагента, применяемого для отвода теплоты от экструдеров, линейных машин и' т. д. В этом случае можно ис- 182

Составляющие баланса

Нагрузка, %
40 70 100
Полезная мощность Потери: 24,45 25,45 25,94
с охлаждением рубашки 19,86 26,96 30,18
со сбросными газами 33,27 32.89 32,28
(13,07) (17,50) (16,14)
с охлаждающим маслом 4,24 3,32 3,03
с излучением и др. 18,18 11,38 8,57
Итого 100,00 100,00 100.00

Примечание. В скобках — утилизируемая часть потерь теплоты со сбросными газами.

пользовать электроэнергию, но другие способы привода дешевле, если здесь одновременно не требуется и холодильный эффект;

утилизация теплоты в системе, в которой нагрев или охлаждение осуществляют с помощью электроэнергии. Тепловой насос с электроприводом, имеющий ф = 3, может привести к сокращению эксплуатационных расходов более чем на 60%, и применение его полностью оправдано.

Другими приводами для компрессоров могут быть дизельный двигатель, паровая машина и газовый двигатель.

Из приведенных трех типов двигателей паровая машина почти полностью снята с производства. Однако дизельные и газовые двигатели выпускаются в промышленных масштабах, и дизельные двигатели сравнительно дешевле благодаря массовому производству для автомобилей и других целей.

Дизельные и газовые двигатели имеют КПД лишь 30%, но благодаря использованию теплоты системы охлаждения воды и отработанных газов (на больших заводах — в том числе и из маслоохладителей) можно достигнуть общего КПД около 80%. Если добавить к этому ф теплового насоса, работающего от такого двигателя, то экономическая эффективность может быть высокой.

Применение этих двигателей, конечно, не новость, в течение десятилетий они применяются для привода генераторов на промышленных предприятиях. Мощность генераторов, приводимых газовыми двигателями (поршневыми или газотурбинными), 50—20 тыс. кВт. В частности, в США имеются очень большие поршневые двигатели внутреннего сгорания, работающие на газе.

В настоящее время гораздо больший интерес проявляется к применению этих двигателей для привода воздушных и холодильных компрессоров, используемых, в частности, в тех случаях, когда имеется потребитель сбросной теплоты. Тепловой баланс для 4-тактного газового двигателя без наддува приведен в табл. 7.8 [7.40].

Кроме обычной системы охлаждения с водяной рубашкой на двигателях этого типа может применяться испарительное охлаждение.

Рис. 7.39. Применение теплового насоса для ох-              Рис. 7.40. Схема теплового иа*

лаждения воды и отопления помещений:              coca, приводимого в действие

1 — пол завод»; 2 — вентилятор отопительного при-              поршневым двигателем, рабо*

бора; 3 — вход в литейную машину; 4 — холодильная              тающим на природном газе:

установка, действующая как тепловой насос; 5 — под-              ,              о .                .

чемный бак              ' - испаритель; 2 - компрессор в

газовым двигателем; .3 — конденсатор; 4— водяная рубашка; 5 —теплообменник

При этом максимальная температура находится в интервале 100—125 °С* По мере прохождения хладагента через рубашку двигателя и по стояку, ведущему к сепаратору, происходит дополнительное испарение, что обеспечивает циркуляцию хладагента за счет естественной конвекции при изменении его плотности. Пар отделяется от воды при атмосферном давлении и направляется в технологический процесс. Воду из сепаратора возврзщают в двигатель вместе g конденсатом из технологического процесса.

Предлагалось 17.401 сбросную теплоту двигателя внутреннего сгорания утилизировать непосредственно для повышения температуры нагреваемой жидкости после конденсатора. Это дает возможность получить на выходе более высокую температуру, чем температура, которая может быть достигнута при применении теплового насоса с электроприводом. Как видно из табл. 7, 8, двигатель внутреннего сгорания менее эффективен при частичной нагрузке, но в промышленности, где изменения нагрузки в основном невелики, это не должно быть препятствием для его применения.

На рис. 7.40 показан водо-водяной тепловой насос для утилизации сбросной теплоты и теплоты охлаждения газового двигателя. На рис. 7.41 сравнивается способность утилизировать энергию тепловых насосов с электрическим приводом и g двигателем внутреннего сгорания.

Тепловые насосы других типов. Имеется ряд тепловых насосов других типов, часть из которых находится в стадии разработки. Поскольку их применение в промышленности в настоящее время ограничено, нет необходимости описывать их подробно.

Термоэлектрический тепловой насос основан на прохождении электрического тока через соединение между двумя различными проводника- 184

Сравнение энергетической эффективности тепловых насосов, приводимых в действие электродвигателем (а) и двигателем внутреннего сгорания (б)

Рис. 7.41. Сравнение энергетической эффективности тепловых насосов, приводимых в действие электродвигателем (а) и двигателем внутреннего сгорания (б)

ми, при этом теплота либо абсорбируется, либо снимается в месте соединения в зависимости от направления тока. Замкнутая цепь должна состоять из двух таких соединений, а на втором соединении будет происходить противоположное явление. Таким образом, r/о мере прохождения тока по цепи теплота будет поглощаться на одном соединении и сниматься на другом. Этот эффект может быть довольно значительным при применении определенных комбинаций материалов.

В настоящее время эти устройства имеют очень низкую производительность, и ф существенно ниже, чем у пзрокомпрессионных тепловых насосов [7.41].

В машинах с абсорбционным циклом отсутствует компрессор. Механические процессы заменены химическими реакциями, и рабочая жидкость используется в сочетании со второй средой, известной как абсорбент, в котором рабочая жидкость хорошо растворяется. Раствор нагревают в генераторе, как показано на рис. 7.42, от внешнего источника теплоты. Выделяющиеся в генераторе пары с высокой температурой поступают в теплообменник, и жидкость возвращается в абсорбер. Давление рабочей жидкости снижается, и она испаряется в низкотемпературном теплообменнике, который работает так же, как испаритель с конденсацией паров. Затем пар повторно растворяют в абсорбенте.

Машины двух наиболее типичных типов с абсорбционным циклом, применяемые в качестве воздушных кондиционеров, работают на бромистом литии и воде или аммиаке и воде. Система с бромистым литием имеет максимальный ф и особенно пригодна в тех случаях, когда имеется сбросная теплота в виде пара для нагрева раствора в генераторе [7.42].

Рис. 7.42. Абсорбционный цикл теплового насоса:

/ — конденсатор; 2 — дроссель; 3 — не* паритель; 4 — ректификатор (необходим в система* с летучими абсорбентами); 5 — генератор, ? —теплообменник; 7 — насос; 8 — абсорбер

Институт Institute of Gas Technology в США в настоящее время проводит большое исследование тепловых насосов, основанных на циклах Ренкина, Стерлинга и Брайтона [7.43].

  1. Теплообменники других типов

Большинство описанных ранее теплообменников специально предназначены для утилизации теплоты. Однако есть несколько других типов теплообменников, которые хотя главным образом применяются для охлаждения или нагрева, но могут одинаково эффективно применяться и для утилизации теплоты. Кроме того, имеется ряд теплообменников из таких материалов, которые значительно расширяют области их применения.

Кожухотрубчатые теплообменники сравнительно недорогие, если они выполнены из обычных материалов. Они могут применяться для утилизации сбросной теплоты технологических потоков. Эти теплообменники изготавливаются также с трубками из тефлона, главным образом для работы с кислотами, и могут быть также выполнены из графита. Кожухотрубчатые теплообменники применяются не только для утилизации сбросной теплоты жидкостей. В некоторых случаях поверхность трубок может быть увеличена, как показано на рис. 7.43 на примере теплообменника фирмы Богбзп, что позволяет применять его для утилизации теплоты отработанных газов.

Как было показано ранее, теплообменники этого типа во многих областях применения конкурируют с пластинчатыми теплообменниками. Теплообменники фирмы Lordan могут быть изготовлены из недорогих материалов (вместо нержавеющей стали), и их преимущество состоит в том, что трубки изготавливают из нержавеющей стали, а кожух— из углеродистой. Кроме того, трубки могут быть выполнены из меди или сплава меди и никеля, а кохуж и пластины — из углеродистой стали. Как указывает фирма D. J. Neil, имеется целый ряд факторов, благодаря которым может быть сделан выбор в пользу тОго или иного теплообменника:

в случае высокого давления необходимо применение теплообменников со спиральными трубками;

при неодинаковых первичных я вторичных потоках во многих слу- чзях теплообменник со спиральными трубками будет дешевле и компактнее, чем эквивалентный пластинчатый теплообменник; при перепаде температур менее 10% первичного перепада теплообменник со спиральными трубками дешевле, чем пластинчатый теплообменник.

Ниже приводятся сравнительные расчеты эффективного применения теплообменника со спиральными трубками, изготовленного фирмой Lordan для утилизации сбросной теплоты посудомоечной машины заводской столовой (рис. 7.44).

Пример. Заводская столовая на 600 чел. В течение года посудомоечная машина используется 7 ч • 365 = 2555 ч. Расход воды для машины составляет

  1. м3/* температура воды повышается с 10 до 90“ G паром с давлением 0,2 МПэ. Стоимость 1 т топлива равна 3,3 ф. ст.

При нагреве только паром количество теплоты составляет 1400 кг/ч • 80° С = = 0,47 Дж/ч, расход пара 3,66 кг/ч, затраты на топливо 1854 ф. ст/год, стоимость подогревателя 285 ф. ст.

При утилизации теплоты предварительно нагревают воду с 10 до 51° С сточными водами с температурой 70° С.

Количество полезно используемой теплоты составляет 1400 кг/ч • 41° G = = 0,24 ГДж/ч. Затем воду нагревают с 51 до 90 ®G паром с давлением 210* Па, Количество затрачиваемой теплоты составляет 1400 кг/ч • 39° G = 0,228 РДж/ч, расход пара 1,79 кг/с, затраты на топливо 907 ф. ст/год.

Дополнительные капзатраты на оборудование для утилизации теплоты составляют 505 ф. ст.

В результате экономия затрат на топливо равна 1854—967 = 947 ф. ст/год, а общий период окупаемости — меньше года, несмотря на то что при проведении этого сравнения не учтена стоимость монтажа.

<< | >>
Источник: Рей Д.. Экономия энергии в промышленности: Справочное пособие для инженерно-технических работников. Пер. с англ. — М.: Энергоатомиздат,1983. 208 с., ил.. 1983

Еще по теме Рекуператоры:

  1. Рекуперативные горелки
  2. Г л а в,а 7              . ОБОРУДОВАНИЕ ДЛЯ УТИЛИЗАЦИИ СБРОСНОЙ ТЕПЛОТЫ
  3. Печи
  4. Измерение оптического пропускания в терагерцовом диапазоне
  5. Педагогіка. Інтегрований курс теорії та історії: Навчально- методичний посібник: У 2 ч. / За ред. А.М. Бойко. — Ч. 2. — К.: ВІПОЛ; Полтава: АСМІ,2004. — 504 с., 2004
  6. Кармазин Ю.А., Стрельцов Е.Л. и др.. УГОЛОВНЫЙ КОДЕКС УКРАИНЫ. КОММЕНТАРИЙ. Харьков-Одиссей, 2001
  7. ПРЕДИСЛОВИЕ
  8. РЕДАКТОРСКАЯ СТАТЬЯ
  9. ОБЩАЯ ЧАСТЬ
  10. Раздел I
  11. ОБЩИЕ ПОЛОЖЕНИЯ
  12. Статья 1. Задачи Уголовного кодекса Украины
  13. Статья 2. Основание уголовной ответственности
  14. Раздел II ЗАКОН ОБ УГОЛОВНОЙ ОТВЕТСТВЕННОСТИ
  15. Статья 3. Законодательство Украины об уголовной ответственности
  16. Статья 4. Действие закона об уголовной ответственности во времени
  17. Статья 7. Действие закона об уголовной ответственности в отношении преступлений, совершенных гражданами Украины и лицами без гражданства за пределами Украины